设为首页 | 加入收藏

当前位置: 首页 >> 服务指南 >> 物业服务 >> 正文

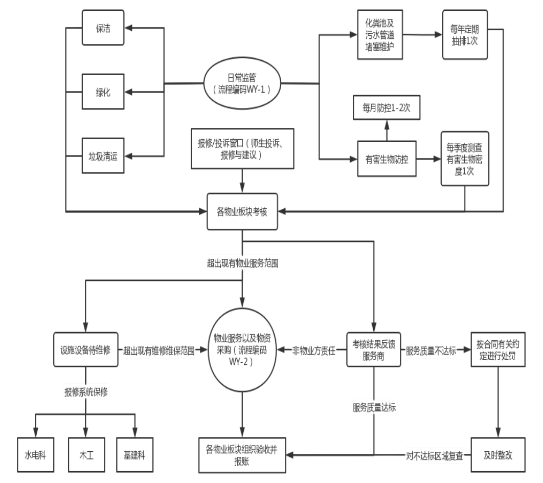
物业科流程图

日期: 2023-08-08信息来源:

1、基本管理工作面,并根据制定的合同条款进行考核评价与报账。

流程编码WY-1

2、统筹立项、采购工作,完成各项服务目标


3、物业管理细化流程


上一条:北校区物业、水电报修流程
下一条:浓情东吴,粽情端午- 东吴服务产业集团与后勤基建部联合举办北校区端午节主题活动